| On site programmable PT / CT ratios |
It is possible to program primary of external potential Transformer (PT), primary of external Current Transformer (CT) on site via front panel keys by entering into Programming mode. |
| User selectable CT Secondary 5A /1A |
The secondary of external Current Transformer (CT) can be programmed on site to either 5A or 1A using front panel keys. |
| User selectable PT Secondary |
The secondary of external Potential Transformer (PT) can be programmed on site from 100VLL to 500VLL using front panel keys. User can set the display in auto scrolling mode or fixed screen mode using front panel keys. |
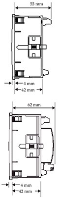
| Low back depth |
The instrument has very low back depth (behind the panel) of less than 55 mm (Without output option). |
| Four function keys |
Using the four function key, it is possible to go desired parameter screen instantly.. |
| Demand Measurement |
Measures & Displays Current Demand, kVA Demand, kW Import Demand, kW Export Demand. Any of the parameters can be assigned to optional Limit switch. |
| 3 line 4 digits LED display |
Simultaneous display of 3 Parameters. |
| RPM Measurement |
The instrument display Rotation per minutes for generator applications. Number of poles can be set on site depending upon application requirement. |
| Energy Count Storage |
In case of power failure, the instrument memorizes the last energy count. Every 1 min, the instrument updates the energy counter in the non-volatile memory. |
| User selectable 3 phase 3 Wire or 4Wire or Single phase Network |
User can program on site the network connection as either 3 Phase 3 Wire or 4 Wire or single phase network using front panel keys. In case of self powered configuration either 3 Phase 4 wire or single phase network is available. |
| Onsite selection of Auto scroll / Fixed Screen |
User can set the display in auto scrolling mode or fixed screen mode using front panel keys. |
| Optional Pulse Output / Limit switch (Relay output) |
Not Available |
| Pulse Output |
Not Available |
| Limit Switch |
Not Available |
| Optional MODBUS (RS485) Output |
The optional Modbus output enables the instrument to transmit all the measured parameters over standard MODBUS (RS-485). |
| Configuration of Instrument via MODBUS |
The instrument setting can be configured locally via front panel keys by entering into the programming mode or remotely via MODBUS RS-485
Note: The MODBUS communication parameters can only be set locally via front panel keys in programming mode |
| Storage of parameters possible |
The instrument stores minimum and maximum values for System Voltage, System Current, Run Hour, ON Hour & number of Interrupts. Every 60 sec stored values are updated. |
| Enclosure Protection for dust and water. |
Conforms to IP 50 (for front face) & IP 20 (for back) IEC60529. |
| EMC Compatibility |
Compliance to International standard IEC 61326. |
| Interference Emission |
IEC 61326-1 : 2005, Class A |
| Interference Immunity |
IEC 61326-1 : 2005 |
| Electrostatic discharge contact /air. (ESD) |
IEC 61000-4-2 -- 4kV/8kV |
| EM Field |
IEC 61000-4-3 -- 10 V/m
(80 MHz to 1 GHz)
– 3 V/m (1.4 Ghz to 2 GHz)
-- 1 V/m (2 GHz to 2.7 GHz) |
| True RMS measurement |
The instrument measures distorted wave form up to 15th Harmonic. |
| Energy Measurement (Import & Export) |
Active Energy (kWh), Reactive Energy (kVArh), Apparent Energy (kVAh). Any of the parameters can be assigned to optional Pulse output. |
| Programmable Energy format & Energy rollover count |
Customer can assign the format for energy display on MODBUS (RS-485) in terms of W, kW or MW. Additional to this, customer can also set a rollover count from 7 to 14 digits depending on the energy format, after which the energy will roll back to zero. |
| Burst |
IEC 61000-4-4 -- 2 kV (5/50 ns, 5 kHz) |
| Surge |
IEC 61000-4-5 -- 1 kVLL / 2 kVLN. |
| Conducted RF |
IEC 61000-4-5 -- 3 V (150 kHz to 80 MHz) |
| Rated Power Frequency magnetic Field |
IEC 61000-4-8 -- 30 A/m |
| Voltage dip |
IEC 61000-4-11 -- 0% during 1 cycle.
-- 40% during 10/12 cycles.
-- 70% during 25/30 cycles. |
| Short interruptions cycles. |
IEC 61000-4-11 -- 0% during 25/30 cycles.
25 cycles for 50 Hz test.
30 cycles for 60 Hz test. |